品质留给时间来证明多年专注公路仪器研发定制生产
全国咨询热线:0317-7777829
您的位置: 建筑公路检测试验仪器 > 新闻中心 > 技术知识

咨询热线

13303377029

NLD-3水泥胶砂流动度测定仪构造图解

作者:河北航信仪器时间:2022-12-13 09:30:02 次浏览

信息摘要:

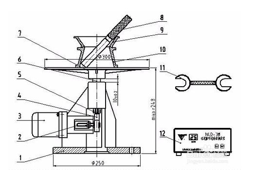
NLD-3水泥胶砂流动度测定仪构造图解1. 机架 2. 接近开关 3. 电动机 4. 凸轮 5. 轴承 6. 推杆 7. 圆盘桌面 8. 捣棒 9. 模套 10. 截锥圆模 11. 检规 12. 控制器附录:●胶砂的制备按GB/T17671-1999有关规定(水泥:标准砂:水=1:3:0.5)进行。●将拌好的水泥胶砂分两层迅速装入模内,首层装至截锥圆模高约三分之二处,用小刀在相互垂直两个方向划5次

NLD-3水泥胶砂流动度测定仪构造图解

NLD-3水泥胶砂流动度测定仪构造图解(图1)

NLD-3水泥胶砂流动度测定仪构造图解(图2)

1. 机架 2. 接近开关 3. 电动机 4. 凸轮 5. 轴承 6. 推杆 7. 圆盘桌面 8. 捣棒 9. 模套 10. 截锥圆模 11. 检规 12. 控制器

附录:

●胶砂的制备按GB/T17671-1999有关规定(水泥:标准砂:水=1:3:0.5)进行。

●将拌好的水泥胶砂分两层迅速装入模内,首层装至截锥圆模高约三分之二处,用小刀在相互垂直两个方向划5次,再用捣棒自边缘至中心均匀捣压15次。接着装第二层胶砂,装至高出截锥圆模约20mm,同样用小刀在相互垂直两个方向划5次,再用捣棒自边缘至中心均匀捣压10次。捣压力量应恰好足以使胶砂充满截锥圆模。捣压深度,首层捣至胶砂高度的二分至一,第二层捣至不超过已捣实的底层表面。捣棒捣压顺序按GB/ T2419-2005《水泥胶砂流动度测定方法》中6.3条的规定。

●捣压完毕,取下模套,将小刀倾斜,从中间向边缘分两次以近水平的角度抹去高出截锥圆模的胶砂,并擦去落在桌面上的胶砂。将截锥圆模垂直向上轻轻提起移去。立即按计数器的“启动"按钮,开动跳桌,完成一个周期25次跳动。

●跳动完毕,用300mm量程的卡尺测量胶砂底面互相垂直的两个方向扩展直径,计算平均值,取整数,用mm单位表示。该平均值即为水泥胶砂流动度。

●从胶砂加水开始到直径测量结束,试验应在6min内完成。

NLD-3水泥胶砂流动度测定仪构造图解 使用说明:

试样的制作与填装方法按GB2419-2005和GB17671-1999的有关规定,也可参照本说明书附录。

●使用前,请用检规检查落距。

●将插头接入计数器后对应孔内,将计数器接通电源。

●如跳桌在24小时内未被使用,先空跳一个周期25次。

技术参数:

振动部分总重量:4.35 kg±0.15kg

振动落距:10mm±0.2mm

振动频率:1Hz

振动次数: 25次

桌面参数:

材料:铸钢,工作面镀硬铬

直径:φ300mm+1mm

安装调试:

仪器必须可靠接地。

仪器用膨胀螺栓固定在基座上。仪器基座由混凝土浇筑而成(或砖混基础),底面尺寸约为400mm×400mm,高约690mm。在基座和仪器机架之间宜填垫圈(见图八.基础安装图),可通过调整垫圈高度调节桌面水平。仪器安装后,其桌面沿彼此成直角的两个直径方向测量时均应成水平。跳桌安装好后,采用流动度标准样(JBW01-1-1)进行检定,测得的流动度值如与给定的标样流动度值相差在规定范围内, 则该跳桌的安装及使用性能合格。

QQ截图20191121134330.jpg


返回列表 本文标签: