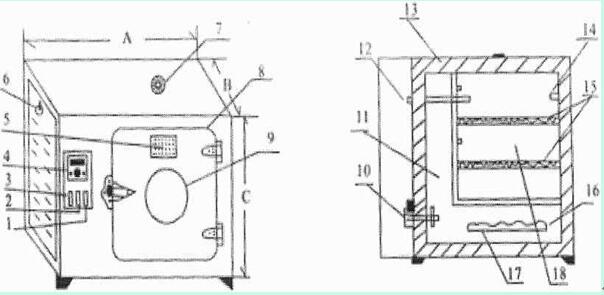
101电热恒温干燥箱结构、外型尺寸及接线示意图 结构说明:
本设备如图所示,由角铁和薄钢板构成,箱体内有一放置试品的工作室是由不锈钢板制作 而成,工作室内有试品搁板2块,试品可置于其上进行干燥,工作室和箱体外壳间用玻璃纤 维作保温层,箱门与工作室间有一双重玻璃窗,以供观察工作室内情况。
箱内工作室左壁与保温之间有风道,内装有鼓风风叶及导向板,开启鼓风开光可使电机工 作,鼓风工作室内空气借鼓风机促成对流,开启排气阀可使箱内空气得以更换。
电气线路均装于箱侧控温层内,控温层侧门可以卸下,以备检修用。加热器装于箱体内工 作室下部,分为“加热2"、“恒温1〃二组炉丝。
结构、外型尺寸及接线示意图:

(1)恒温开关1(2)加热开关2(3)鼓风开关(4)控温仪(5)标牌(6)侧门(7) 排气阀(8)箱门(9)观察窗(10)鼓风电机(11)风道(12)温度传感器(13) 保温层(14)隔板支架(15)试品搁板(16)加热器(17)散热板(18)工作室
101电热恒温干燥箱结构、外型尺寸及接线示意图 使用说明:
1、该箱安放在室内干燥及水平处。
2、应在供电线路中安装闸刀开关一只,供此箱专用,并使箱体良好接地
3、通电前先检查绝缘电阻须N0.5MQ,并检查电路有无短路、断路现象。
4、合上闸刀开关,接通电源后,将控温仪选择盘设定所需温度,使其刻度相对,开启恒温 1和加热2开关,控温仪表绿灯亮,红灯灭,炉丝通电,此时箱内温度开始升温。同时可打 开鼓风开关,使其工作。随着炉温上升,温度指示针能及时显示测量温度值。当达到设定值 时,仪表红灯亮,绿灯灭,切断加热电源,温度逐渐下降,降至设定温度时,控温仪表又转 至绿灯亮,箱内升温,周而复始,可使箱内温度保持在设定值附近。
5、初始加热时,由于热惯性,尽管炉丝已断电,但箱内温度还会上升,故每次开机前* 把设定值设定在所需温度的80%左右,待几次开关动作后再把设定值定在所需值,既可避免 开机升温过冲现象(100°C之内冲击值一般不超过10°C)
6、红绿灯交替半小时,观察插入排气孔中温度计指示值是否与仪表指针或显示的温度值是 否相符。此时干燥箱进入正常工作状态。
7、恒温时可关闭加热2开光,只留恒温1 一组炉丝工作,以免功率过大影响恒温灵敏度。 在此工作过程中恒温箱由控温仪表自动控温,不需人工管理。
8、观察工作室内试品情况,不需开启箱门,通过双重耐高温玻璃即可观察,箱门不宜常打 开,以免影响恒温,且箱内达到高温时开启箱门可能会使玻璃急聚冷却而破裂。
9、干燥箱连续工作时应根据试品要求酌情关闭电机使之间休,以便延长电机寿命。
10、试品恒温完毕,关闭开关,同时拉下闸刀开关。




