JSS30A数显隧道收敛仪 30米隧道位移计 概述:
JSS30A型数显收敛计(简称收敛计)是新一代电子数字显示收敛计。它适用于量测隧道、巷道、峒室及其它工程围岩周边任意方向两点间的距离微小变化,达到评定工程稳定性,研究工程围岩及支护的变形发展规律,确定合理支护参数的目的。收敛量测已*是地下工程量测项目中必须项目之一。
本收敛计是在原JSS30型基础上加以改进的新产品,获原煤炭部科技进步奖,具有结构新颖,操作简便,测量精度高,体积小、重量轻,密封性好等特点,是施工、科研中进行工程量测的理想工具。
JSS30A数显隧道收敛仪 30米隧道位移计 参数:
1、使用环境条件
环境温度: 0-40C
相对湿度:不大于93%土3%
2、基本参数
量测范围(两种规格) : 0.5m~20m和0.5m- 30m (请订货时注明)
分辩率: 0.01mm
测量精度: 0.06mm
数显示值稳定度: 24b内不大于0.01mm
电源: 1.55V氧化银 钮扣电池SR44W 1节。
外型尺寸: 410mmX 100mm X 35mm
量: 0.9kg
构造及工作原理:
1、主要结构
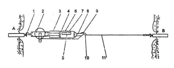
收敛计主要由(1)钩、(2)尺架、(3)调节螺母、(4)外壳、(5)塑料盖、(6)显示窗口、(7)张力窗口、(8)联尺架、(9)尺卡、(10)尺孔销、(11)带孔钢尺等部件组成,见图1.

图1 收敛计结构及工作示意图
2、基本工作原理
收敏计是利用机械传递位移的方法,将两个基准点间的相对位移转变为数显位移计的两次读数差。如图1所示,当用挂钩连接两基准点A、B予埋l件时,通过调整谓节鲅母,改变收敛计机体长度可产生对钢尺的恒定张力,从而保证测的准确性及可双性,机体长度的改变理,由数显电路测出。当A、B两点间随时间发生相对位移时,在不同时间内所测读数的不同,其差值就是A、B两点间的相对位移值。
当两点间的相对位移值超过数显位移计有效量程时,可调整尺孔销所插尺孔,仍能继续用数显位移计读数。
使用前准备:
弟一次使用收敛计时,应先进行“对零"。请按以下方法顺序操作:
1、打开塑料盖, 内部数显位移计结构见图2所示.

1-转换开关;2-亳米单位;3-清零开关;4-电池盒;5-数显开关
图2数显位移计面板结构
将SR44W型氧化银钮扣电池装入电池盒内,注意电池“+"极向上(电池外壳有字的一-面),并将塑料盖装好。
2、顺时针方向旋转调节螺母, 至转不动时为上(不要用力太大) .
3、按开关健, 使之显示数据,再按清零键,使显示屏数字全部为零。
4、为保证对零的准确性, 可重复对零2-3次。其方法是,对零后将调节螺母反时针方向回转几圈,再按4.2及4.3条方法进行, 当几次对零,显示均为零后可将塑料盖装好。
注:每次更换电池后都要重新对零。
测点的埋设:
参照图3侧点加工图,将测点用水泥砂浆牢固的固定在选定的位置

图3收敛计测点
测点牢固后即可量测。如围岩破碎松软,应适当增加测点固定段长度。
若要及早测取初读数,可使用快凝水泥、树脂药卷或树脂胶泥等速凝材料固定测点。
使用方法:
1、检查予埋测点有无损坏、 松动并将测点灰尘擦净.
2、打开收敛计钢尺摇把, 拉出尺头挂钩放入测点孔内,将收敛计拉至另一端测点.并把尺架挂钩挂入测点孔内,选择合适的尺孔,将尺孔销插入,;用尺卡将尺与联尺架固定。
3、‘调整调节螺母,仔细观察,使塑料窗口上的刻线对在张力窗口内标尺.上的两条白线之间(每次应一 致,图4),经塑料窗口上的刻线为基准线。
4、记下钢尺在联尺架端时的基线长度(图4)与数显读数,为提高t测精度,每条基线应]复测三次取平均值.当三次读数极差大于0.05mm时,应重
新测试。




